基于Springboot+Vue.js的工业人身安全监测系统
分类: Java springboot vue MySQL 标签: 基于Springboot+Vue.js的工业人身安全监测系统
2025-12-22 18:20:11 333浏览
本系统旨在通过分析上传的报文数据实时监测工业设备状态变化,管理员可分析数据并及时下发预防维护信息,以减少因设备故障而威胁到工人人身安全的事故,同时提升企业的生产效率。
(ssm和springboo项目可互转) 联系作者 ,微信 jf3qcom , QQ : 1913284695 购买源码
工业人身安全监测系统
演示视频
https://www.bilibili.com/video/BV1oPBxBFEkp/
角色
管理员、员工
技术
Spring Boot、MySQL、Vue.js、虚拟串口通信、心跳机制、轮询技术、数据可视化
核心功能
本系统旨在通过分析上传的报文数据实时监测工业设备状态变化,管理员可分析数据并及时下发预防维护信息,以减少因设备故障而威胁到工人人身安全的事故,同时提升企业的生产效率。
功能介绍
管理员
- 用户管理:管理系统用户(员工和管理员),包括用户信息的增删改查、权限管理和状态(启用/禁用)控制。
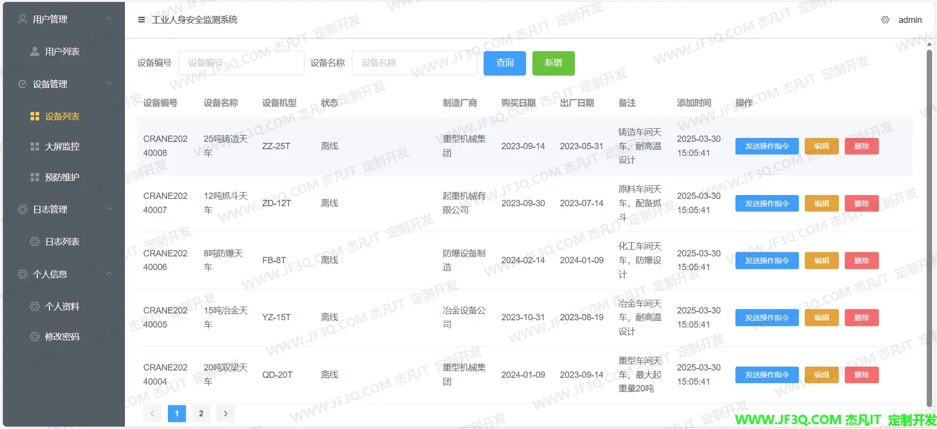
- 设备管理:对工业设备进行注册、信息维护(增删改查)和状态监控。
- 设备状态监控:实时查看设备的运行状态,包括接收和处理设备上传的报文数据,并进行数据可视化展示(如大屏和扇形统计图)。
- 预防与维护:通过数据分析识别潜在的安全隐患,制定并下发相应的预防与维护措施给员工。
- 日志管理:记录和管理所有用户的操作日志,确保系统的可追溯性和安全性。
- 个人信息管理:管理和修改自己的个人信息。
员工
- 设备信息查看:查看其负责或相关的设备的基础信息。
- 设备状态监控:查看设备的实时运行状态和历史数据。
- 预防与维护建议查看:查看管理员下发的风险预防维护建议和措施。
- 日志查看:查看自己的操作日志。
- 个人信息管理:管理和修改自己的个人信息。
数据字典
实时监测数据 (logs)
| id | bigint | 主键ID |
| device_id | bigint | 设备ID,关联sys_device表 |
| CId | int | 吊车ID |
| station | varchar(20) | 站点/工位编号 |
| Status | varchar(255) | 设备状态 |
| Cd | int | 小车方向 (CarDirection) |
| TTime | int | 运行时间 |
| STime | int | 启动时间 |
| BTime | int | 停止时间 |
| S1 | float(255,4) | 传感器数据1 |
| S2 | float(255,4) | 传感器数据2 |
| S3 | float(255,4) | 传感器数据3 |
| S4 | float(255,4) | 传感器数据4 |
| GS1 | int | 传感器状态1 |
| GS2 | int | 传感器状态2 |
| GS3 | int | 传感器状态3 |
| AI1 | varchar(2) | 模拟输入1 |
| AI2 | varchar(2) | 模拟输入2 |
| AI3 | varchar(2) | 模拟输入3 |
| AI4 | varchar(2) | 模拟输入4 |
| CLCStatus | char(8) | 吊车状态 |
| GJCStatus | char(8) | 钩子状态 |
| Time | datetime | 记录时间 |
设备通信报文记录 (message)
| id | bigint | 主键ID |
| Station | varchar(20) | 站点/工位编号 |
| Type | int | 报文类型 |
| Detail | longtext | 报文详细内容(如心跳或传感器数据字符串) |
| Time | datetime | 记录时间 |
| device_id | bigint | 设备ID,关联sys_device表 |
用户留言/建议 (suggest)
| id | int | 主键ID |
| content | varchar(255) | 留言内容 |
| create_time | datetime | 创建时间 |
设备信息表 (sys_device)
| id | bigint | 主键ID |
| status | tinyint | 设备状态:0-离线,1-在线,2-故障 |
| device_no | varchar(50) | 设备编号 |
| device_name | varchar(100) | 设备名称 |
| model | varchar(50) | 设备型号 |
| manufacturer | varchar(100) | 制造厂商 |
| purchase_date | date | 购买日期 |
| production_date | date | 出厂日期 |
| remark | varchar(500) | 备注 |
| create_time | datetime | 创建时间 |
操作日志表 (sys_log)
| id | bigint | 主键ID |
| create_time | datetime | 创建时间 |
| content | varchar(500) | 操作内容 |
| user_id | bigint | 操作人ID,关联sys_user表 |
用户表 (sys_user)
| id | bigint | 主键ID |
| username | varchar(50) | 用户名 |
| password | varchar(100) | 密码(应为加密存储) |
| sex | int | 性别 |
| role | varchar(20) | 角色:emp-员工,admin-管理员 |
| phone | varchar(255) | 电话号码 |
| realname | varchar(50) | 真实姓名 |
| create_time | datetime | 创建时间 |
| update_time | datetime | 修改时间 |
| status | tinyint(1) | 状态:0-禁用,1-启用 |
部分截图












好博客就要一起分享哦!分享海报
此处可发布评论
评论(0)展开评论
暂无评论,快来写一下吧
展开评论
您可能感兴趣的博客
他的专栏
他感兴趣的技术













新业务
springboot学习
ssm框架课
vue学习
【带小白】java基础速成